金瓶梅在线播放,学长惩罚我下面放震蛋上课,无码无遮挡刺激喷水视频,护士长在办公室躁bd

全國服務熱線021-64162222

電動截止閥閥門首頁 > 產品展示 > 截止閥 > 電動截止閥 >

產品名稱:電動高壓截止閥[ 2019-11-15 ]

訂購熱線:021-64162222
訂購傳真:021-62677999
質量穩定:實行全過程質量監控,細致入微全方位檢測!
價格合理:高效內部成本控制,減少了開支,讓利于客戶
交貨快捷:先進生產流水線,充足的備貨,縮短了交貨期!
  • 產品介紹
  • 規格尺寸
  • 結構圖片
  • 一、電動高壓截止閥詳細介紹

    上海湖泉閥門廠生產的電動高壓截止閥主要由電動執行器和高壓截止閥閥體組成,它的閥門結構為上下結構,具有耐高溫和高壓的特點。。具有功能全、性能可靠、控制系統先進、體積小、重量輕、使用維護方便等特點。可對閥門實行遠控、集控和自動控制。廣泛用于電力、冶金、石油、化工、造紙、污水處理等行業。

    二、電動高壓截止閥主要特點

    它配有DZW系列多回轉式電動裝置,具有殼體小,重量輕,功能全,并可與遠程電腦配套使用,也可按用戶要求選配電動裝置。良好的強度、剛度和流通能力,可使用在各種壓力、溫度及介質的工況當中。  

    三、電動高壓截止閥主要技術參數

    電源:常規,三相380V(50Hz)
    特殊,三相660V、415V(50Hz、60Hz);
    單相220V、110V(50Hz、60Hz)
    工作環境:
    環境溫度:-20~+60℃(特殊訂貨-40~+80℃)。
    相對濕度:≤95%(25℃時)。
    防護類型:戶外型用于無易燃、易爆和無腐蝕性介質的場所。隔爆型產品有dⅠ和dⅡBT4兩種,dⅠ適用于煤礦非采掘工作面;dⅡBT4用于工廠,適用于環境為ⅡA、ⅡB級T1~T4組的爆炸性氣體混合物。(詳見GB3836.1)
    防護等級:IP55(特殊訂貨IP65、IP67)。
    工作制:短時10分鐘(特殊訂貨30分鐘)。

     

    四、電動高壓截止閥主要設計標準

    設計與制造 GB/T12235
    連接端尺寸 結構長度 GB/T12221
    法蘭尺寸 JB/T79
    檢驗與試驗 JB/T9092
    材 料 碳鋼 GB/T12229
    不銹鋼 GB/T12230
    合金鋼 Q/ZB66
    標 志 GB/T12220
    供 貨 JB/T7928
     
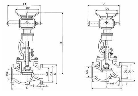
  • 五、電動高壓截止閥主要外形連接尺寸

    4.0MPa DN L D D1 D2 D6 b n-Φd 電裝型號 L1 H D0
    凹凸法蘭
    MFM
    J941H
    J941Y
    J941W
    40
    40P
    40R
    40I
    50 230 160 125 100 88 20 4-Φ18 ZDW10 590 645 365
    65 290 180 145 120 110 22 8-Φ18 ZDW10 590 690 365
    80 310 195 160 135 121 22 8-Φ18 ZDW20 590 715 365
    100 350 230 190 160 150 24 8-Φ23 ZDW30 590 770 365
    125 400 270 220 188 176 28 8-Φ25 ZDW45 810 782 470
    150 480 300 250 218 204 30 8-Φ25 ZDW60 810 875 470
    200 600 375 320 282 260 38 12-Φ30 ZDW90 830 1160 550
    6.4MPa 50 300 175 135 105 88 26 4-23Φ ZDW10 590 710 365
    凹凸法蘭
    MFM
    J941H
    J941Y
    J941W
    64
    64P
    64R
    64I
    65 340 200 160 130 110 28 8-Φ23 ZDW20 590 750 365
    80 380 210 170 140 121 30 8-Φ23 ZDW30 590 785 365
    100 430 250 200 168 150 32 8-Φ25 ZDW45 810 837 470
    125 500 295 240 202 176 36 8-Φ30 ZDW60 810 1031 470
    150 550 340 280 240 204 38 8-Φ34 ZDW90 830 1066 550
    200 650 405 345 300 260 44 12-Φ34 ZDW120 830 1213 550

  • 六、電動高壓截止閥產品結構圖


    電動高壓截止閥原理圖

上一篇:截止閥電動執行器 / 下一篇:j941h-16c電動截止閥